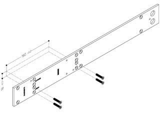
Płyta montażowa do samozamykacza * Do TS 5000 RFS KM / TS 4000 R(-IS) z rozmieszczeniem otworów montażowych wg DIN EN 1154 arkusz dodatkowy 1
- Z rozmieszczeniem otworów montażowych wg DIN EN 1154 arkusz uzupełniający 1
Obszary zastosowań
- Montaż korpusu samozamykacza na podstawie rozmieszczenia otworów montażowych DIN
Specyfikacje produktu
| Płyta montażowa do samozamykacza | |
| Płyta montażowa z rozmieszczeniem otworów montażowych wg instrukcji EN 1154 | Tak |
Do pobrania
LABELLING OBLIGATION: © GEZE GmbH
Warianty i akcesoria
* Informacja o prezentowanych produktach
Produkty opisywane powyżej w zależności od kraju mogą mieć inny kształt, typ, charakterystykę i funkcjonalność (konstrukcję, wymiary, dostępność, dopuszczenia, normy itp.). W razie pytań prosimy o kontakt z osobą do kontaktu w firmie GEZE lub przesłanie nam E-Mail .